当前位置

连接块

颜色

连接块

特征

STRUT悬吊式轨道配件

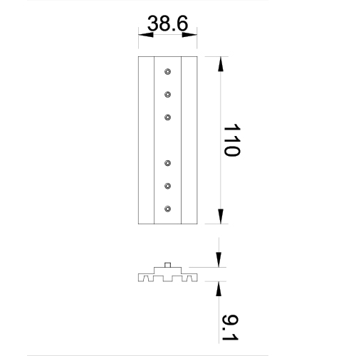
线图

文档下载

订购模型查看购物车
Model & Size颜色

OS2C-ID 连接块

WT白色

BK黑色